
產品中心
product center-
智慧氣象
智慧水文
智慧農業
智慧水質
智慧公路
智慧大氣
智慧光伏
智慧傳感器
生化檢測儀
山東九丞智能科技有限公司
聯系人:周經理
手機:19853697985
電話:19853697985
QQ:3836021633
公司地址:山東省濰坊高新區新城街道玉清社區金馬路1號歐龍科技園3號車間2-205

超聲波三維風速風向儀
產品廠家:九丞智能科技
產品簡介:1. 超聲波三維風速風向儀產品概括 JC-SWF1三維超聲波風傳感器可同時提供三個維度方向的風速測量。采用優質鋁合金殼體設計,結構緊湊美觀,便于安裝和維護。主要應用于風力發電、道路橋梁氣象監測、環保等。JC-SWF1三維超聲波風傳感器,在2D測量模式下可水平風速、垂直風速、風向及風溫、聲速,在3D測量模
- 廠家客服:

- 廠家電話:13276361891
1. 超聲波三維風速風向儀產品概括
JC-SWF1三維超聲波風傳感器可同時提供三個維度方向的風速測量。采用優質鋁合金殼體設計,結構緊湊美觀,便于安裝和維護。主要應用于風力發電、道路橋梁氣象監測、環保等。
JC-SWF1三維超聲波風傳感器,在2D測量模式下可水平風速、垂直風速、風向及風溫、聲速,在3D測量模式下可以測量U、V、W軸上的風速。
JC-SWF1三維超聲風傳感器采用9~36伏直流電供電并配有4針的M12連接器供安裝。可在極為惡劣環境下工作,無須額外維護。外殼采用特殊表面處理工藝,具有較高的抗腐蝕性與抗風沙性,同時密封防護等級可達IP67級。
2. 超聲波三維風速風向儀技術參數及要求
2.1 環境要求
工作溫度:-50℃~+85℃
儲存溫度:-50℃~+85℃
工作濕度:0-100%
海拔高度:0~4000m
2.2 功能描述
類型:三維超聲波風傳感器
外殼材質:硬氧鋁合金
供電電源:9~36VDC
重量:1.5kg
工作電流:24V@20mA
輸出信號類型:RS-485
防護等級:IP66
參數設置:出廠已完成配置,如有特別要求,可以通過配置軟件進行波特率、輸出方式等參數配置。
風速
測量范圍:0~50m/s
分辨率:0. 01m/s
精度:±0.2m/s (0-10m/s)、±2% (>10m/s)
風向
測量范圍:0~359.9°(U-V平面內的0~359.9°風向角,指北線朝正北,0.0°=北,90.0°=
東,180.0°=南,270.0°=西)
分辨率:0.1°
精度:±2°
聲波溫度(風溫)
溫度范圍:-50 至+50oC
分辨率:0.1oC
精度:±2oC(0~30m/s)
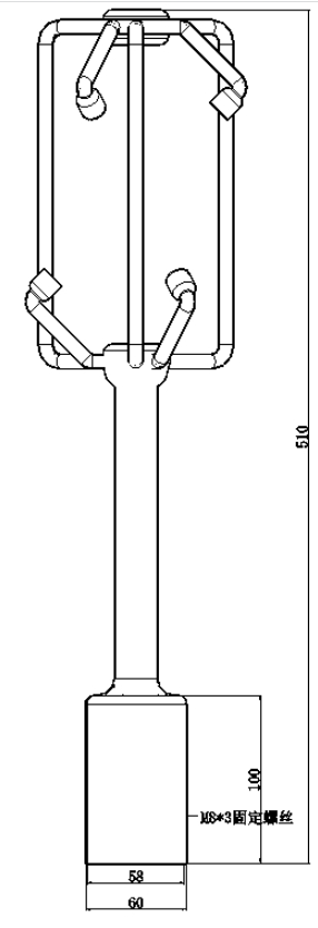
2.4. 設備尺寸
文章地址:http://m.ymchinafood.com/fsfx/472.html
- 上一篇:沒有了!
- 下一篇:三維風速風向儀





